



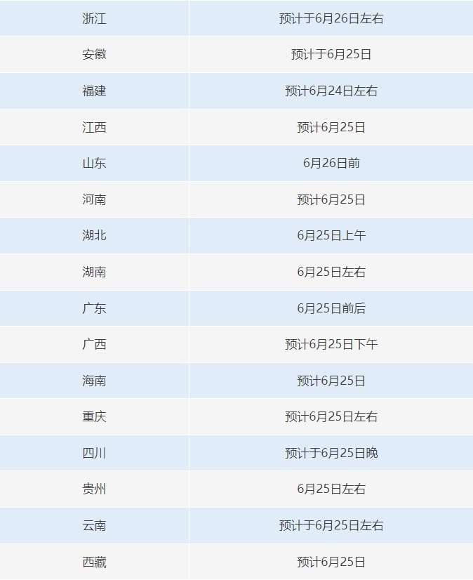
2025年高考已落下帷幕,23日起,各地高考成绩陆续公布31个省份高考查分时间。



临近查分,不少不法分子会利用考生和家长的急切心理,精心设计多种骗局。
警方提示:以下陷阱易中招
广大考生和家长一定要注意防范
骗局一:以“名校培训”“预先录取”为诱饵实施诈骗
近期,有诈骗人员利用“名校培训”“预先录取”等为诱饵实施诈骗。江苏昆山市民张女士就收到QQ弹出的好友申请,点进去一看发现是自己“女儿”的新号。网络对面的“女儿”称自己要参加一个所谓的“名校专家”培训班,正在试听,感觉效果很好,需要缴纳“保证金”锁定名额。
“女儿”发来了负责报名的所谓“教务处主任”的QQ号,张女士添加后,“教务处主任”提供了预录取通知书和收款账户,表示报名参加需要先缴纳3万元的费用,张女士便尝试进行转账,与学校老师电话核实,发现对方是骗子,立即报警。
民警提醒,切不可轻易向陌生账户转账汇款,一旦发现可疑情况或被骗,请立即拨打110报警。
骗局二:伪造虚假查分网站
诈骗分子会通过网络或者短信发送虚假查分链接,诱导考生和家长点击,要求填写身份证号、银行卡号、验证码等信息,进而实施诈骗。
民警提醒,查分时应认准教育部门认定的官方查询方式,切勿点击来历不明的链接。广大考生不要在社交媒体随意晒出包含准考证号、身份证号等信息的照片,防止个人信息泄露。
骗局三:谎称有高校内部指标、伪造录取通知书
不法分子谎称有高校内部指标、计划外指标,缴纳费用即可获得。还有的诈骗人员会冒充高校招生办人员给考生寄送或发送伪造的录取通知书,要求将学杂费打入指定的银行账户以骗取钱财。
民警提醒,高校招生严格按照政策执行,不存在所谓的内部渠道,也不会产生额外附加费用。广大考生和家长在收到录取通知书时,一定要通过学校官网核实真伪,切勿轻易转账汇款。
骗局四:“内部渠道提前查分、改分”
在各类重要考试结束到出成绩期间,各类查改分骗局也屡见不鲜。盐城的小张就在参加完考试后,落入了骗子的圈套。
受害人突然收到一条声称“内部渠道提前查分”的短信,便添加了短信中的QQ号码,向对方咨询提前查分事宜。
很快,对方告知小张本次考试未能通过,并表示若想及格,缴纳3600元就可以系统后台改分。毫无防备的小张仿佛抓住了救命稻草,随即转账支付。结果对方让小张继续转账10000元的时候,小张反应过来并报警。
民警提醒,招生考试的成绩发布流程往往有其规范,不要轻信他人的“小道消息”。各类考试不存在提前查分、违规改分的操作。广大考生务必提高警惕,切勿轻信此类信息,一旦发现可疑情况,应立即向公安机关报案。
骗局五:假借高考填报志愿咨询机构的身份进行诈骗
还有些不法分子打上高考招录和考生填报志愿的主意,设下电信网络诈骗陷阱,就等着考生和家长上钩。
比如填报高考志愿前,诈骗分子会盯上考生和家长迷信志愿填报咨询机构的心理,假借高考填报志愿咨询机构的身份进行诈骗。考生和家长一定要按照学校的通知前往填报地点,对于社会举办的收费性质的志愿填报咨询服务活动要提高警惕,所有的高考政策及信息,一定要以官方公布为准。
骗局六:伪装跨国留学中介公司骗取中介费用
高考后有不少考生选择出国留学,诈骗分子也会利用考生和家长求学心切的心理实施诈骗。他们会通过虚假公司注册信息伪装成跨国留学中介公司,骗取中介费用。
如果考生选择留学机构,要选择规模较大、证照齐全、市场信誉好、经营状况佳的留学中介。在缴纳中介费用时,一定要谨慎看清合同,不要被机构所谓的“优惠”“折扣”冲昏头脑。
考生和家长,一定要警惕涉考骗局,不要轻信非官方渠道发布的不实信息,谨防上当受骗。
①凡本网注明“来源:福州新闻网”的所有文字、图片和视频,版权均属福州新闻网所有,任何媒体、网站或个人未经本网协议授权不得转载、链接、转贴或以其他方式复制发表。已经被本网协议授权的媒体、网站,在下载使用时必须注明“来源:福州新闻网”,违者本网将依法追究责任。
②本网未注明“来源:福州新闻网”的文/图等稿件均为转载稿,本网转载出于传递更多信息之目的,并不意味着赞同其观点或证实其内容的真实性。如其他媒体、网站或个人从本网下载使用,必须保留本网注明的“来源”,并自负版权等法律责任。如擅自篡改为“来源:福州新闻网”,本网将依法追究责任。如对文章内容有疑议,请及时与我们联系。
③ 如本网转载涉及版权等问题,请作者在两周内速来电或来函与福州新闻网联系。