



曾在体育品牌界风光无限,邀请过刘德华、张柏芝等巨星代言的贵人鸟,近日传来更名消息。
天眼查显示,2025年1月9日,贵人鸟股份有限公司(以下简称为“贵人鸟”)名称变更为金鹤农业股份有限公司(以下简称为“金鹤农业”)。
在很长一段时间里,贵人鸟都是响当当的存在。
回溯过往,2002年,贵人鸟邀请刘德华担任品牌形象代言人,品牌迅速在竞争激烈的体育用品市场抢占一席之地。次年,张柏芝出任形象大使,品牌热度持续攀升,还斩获 “产品质量国家免检”等诸多荣誉。
此后,贵人鸟一路高歌猛进,2010年签约11位世界顶级斯诺克球星,如奥沙利文、亨德利等,还携手中国国家队男子举重总教练陈文斌、WCBA金牌教练隋菲菲等5位知名教练,不断拓展品牌影响力。
2014年,贵人鸟迎来高光时刻,成功登陆上交所,成为A股首个运动品牌,创始人林天福也因此身价暴涨,荣膺“泉州首富”。
然而,辉煌未能延续。2020年,公司因连续三年亏损被实施退市风险警示,因业绩不振,2021年7月其上市公司股票简称变更为“ST贵人”,林天福也陷入困境,从泉州首富沦为被限制高消费对象。
此后虽有挣扎,“ST 贵人”在2022年5月短暂摘帽,但最终仍难挽颓势。
2024年3月22日,ST贵人收到上交所终止上市决定书,因长达20个交易日收盘价低于1元,触及退市底线,停牌前股价仅0.67元/股,市值大幅缩水至11亿元。
据了解,金鹤农业最大股东为黑龙江泰富金谷网络科技有限公司,该公司专注大米销售、粮食贸易、仓储加工等业务,涉及粮食供应链平台和订单农业合作等多个维度。早在2021年,启动破产重组的贵人鸟开启跨行业“自救”,引入重整投资人黑龙江泰富金谷网络科技有限公司,后者将粮食业务注入。
2023年9月22日晚间,贵人鸟股份有限公司发公告宣布,其打算优化调整公司经营业务,逐步退出运动鞋服业务。
2022 年7月,其所属公司泰富金谷通过购买贵人鸟集团(香港)有限公司的股份,以20.36%的股份成为贵人鸟控股股东,李志华成为实际控制人;8月12日,经董事会选举,李志华出任贵人鸟公司董事长。
根据贵人鸟早前公告,此次更名并非简单品牌重塑,而是战略发展规划的关键一环。
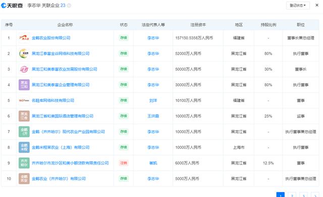
图源天眼查
潮新闻记者留意到,电商平台上主打销售东北大米的 “金鹤” 旗舰店,其背后所属企业是黑龙江和美泰富农业发展股份有限公司,该公司的法人代表为李志华。

据公开资料表明,李志华在东北地区有着“粮食大亨”的称号。而通过天眼查能够发现,李志华关联的企业多达 23 家,且这些企业大多涉及粮食业务、食品销售以及农业管理等相关领域。(记者 俞叶波)
①凡本网注明“来源:福州新闻网”的所有文字、图片和视频,版权均属福州新闻网所有,任何媒体、网站或个人未经本网协议授权不得转载、链接、转贴或以其他方式复制发表。已经被本网协议授权的媒体、网站,在下载使用时必须注明“来源:福州新闻网”,违者本网将依法追究责任。
②本网未注明“来源:福州新闻网”的文/图等稿件均为转载稿,本网转载出于传递更多信息之目的,并不意味着赞同其观点或证实其内容的真实性。如其他媒体、网站或个人从本网下载使用,必须保留本网注明的“来源”,并自负版权等法律责任。如擅自篡改为“来源:福州新闻网”,本网将依法追究责任。如对文章内容有疑议,请及时与我们联系。
③ 如本网转载涉及版权等问题,请作者在两周内速来电或来函与福州新闻网联系。