



原标题:哪吒汽车所持销售公司20亿股权被冻结
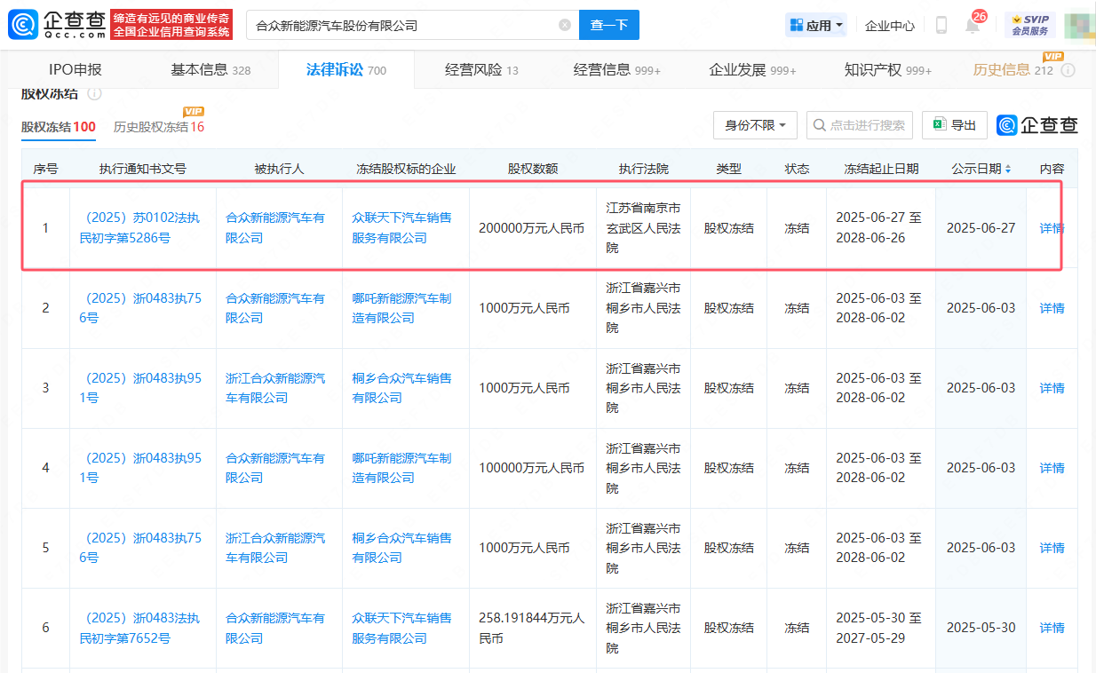
企查查APP显示,近日,哪吒汽车关联公司即合众新能源汽车股份有限公司新增一则股权冻结信息,该公司所持众联天下汽车销售服务有限公司20亿股权被冻结,冻结期自2025年6月27日至2028年6月26日。

据悉,众联天下汽车销售服务有限公司成立于2018年,注册资本20亿元人民币,实缴15亿元人民币,由方运舟担任法定代表人,合众新能源汽车股份有限公司全资持股。

①凡本网注明“来源:福州新闻网”的所有文字、图片和视频,版权均属福州新闻网所有,任何媒体、网站或个人未经本网协议授权不得转载、链接、转贴或以其他方式复制发表。已经被本网协议授权的媒体、网站,在下载使用时必须注明“来源:福州新闻网”,违者本网将依法追究责任。
②本网未注明“来源:福州新闻网”的文/图等稿件均为转载稿,本网转载出于传递更多信息之目的,并不意味着赞同其观点或证实其内容的真实性。如其他媒体、网站或个人从本网下载使用,必须保留本网注明的“来源”,并自负版权等法律责任。如擅自篡改为“来源:福州新闻网”,本网将依法追究责任。如对文章内容有疑议,请及时与我们联系。
③ 如本网转载涉及版权等问题,请作者在两周内速来电或来函与福州新闻网联系。