



近日,关于安徽鹿妈妈生物科技有限公司(以下简称“小鹿妈妈”)存在“无固定午休时间”“禁止工位放置私人物品”“强制员工工位就餐”等严苛规定,引发公众热议。

员工控诉“上班像坐牢”
官方:已经立案
3月26日,合肥市庐阳区劳动保障监察大队告诉媒体,25日他们关注到媒体报道后,就已经去过小鹿妈妈调查,已经立案。



据报道,3月24日,有人发布视频称,在一家公司应聘后发现没有午休,员工用餐时间也不得离开公司,因此第一天就辞职了。
视频中展示的一份公司办公规范文件,其中第四条规定:上班期间禁止外出,除非特殊情况,需经部门主管批准并报备人事部门。

在视频评论区,被询问是否为“小鹿妈妈”品牌,发布视频的网友确认正是这家公司。

据媒体报道,小鹿妈妈多名员工表示,公司要求午休期间不得佩戴耳机,且非领取外卖或快递不得外出,即便取餐后也需返回工位用餐,外出需填写登记表。
一名在职员工说,公司工作时间为早上9点到下午6点。她曾在午休期间佩戴耳机用手机刷短视频,被负责人告知违反公司规定。其他员工还透露了小鹿妈妈更多“细节性”管控措施,例如会议室椅子必须完全推入桌底,否则就会被开罚单,需要打扫卫生作为处罚;卫生间使用时间受限,人事部门定期巡查工位在岗情况。
小鹿妈妈品牌媒体部工作人员解释称,公司休息没有固定的时间,不是说没有午休,比如客服部门,如果客服一起休息,就没人回消息。对于桌面不能放私人物品,只是说工作的桌面不能太乱。
试用期公司没有给员工缴纳社保
据悉,员工签署《劳动合同》后,小鹿妈妈会收走本该属于员工的那一份合同;试用期公司也没有给员工缴纳社保。
公开资料显示,小鹿妈妈为安徽鹿妈妈生物科技有限公司旗下的口腔护理品牌,由夏泉创立于2016年,主要产品为“牙线”,常在电梯里能够看到它的“魔性广告”。
天眼查App显示,小鹿妈妈关联公司安徽鹿妈妈生物科技有限公司成立于2016年5月,法定代表人为岳梦影,注册资本500万元人民币,经营范围包括生物科技产品的研发、生产、销售等,由夏泉、芦士琴分别持股90%、10%。2023年年报信息显示,该公司参保人数为1人。
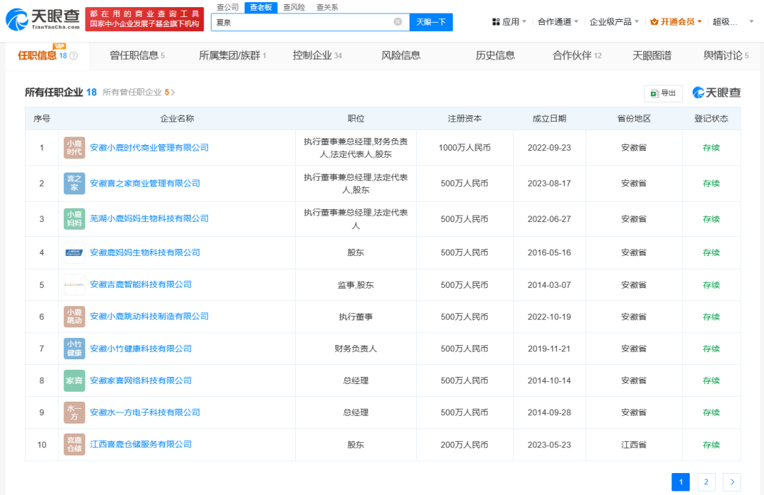
商业履历信息显示,小鹿妈妈创始人夏泉名下关联18家企业,其中14家为存续状态,包括安徽小鹿时代商业管理有限公司、安徽喜之家商业管理有限公司、芜湖小鹿妈妈生物科技有限公司等。夏泉在上述企业担任股东及法定代表人、执行董事、总经理等职务。值得注意的是,其名下的安徽小鹿时代商业管理有限公司、安徽吉鹿智能科技有限公司、芜湖市鹿龙生物科技有限公司等多家公司2023年年报显示参保人数均为0人。

律师:公司的规定不能侵犯员工的基本权利
对于相关事件,河南泽槿律师事务所付建律师认为,《社会保险法》第五十八条规定,用人单位应当自用工之日起三十日内为其职工向社会保险经办机构申请办理社会保险登记。试用期单位不购买社保是违法的。《劳动合同法》第十六条规定,劳动合同应由用人单位与劳动者各执一份。小鹿妈妈公司不能收走劳动合同。
根据《劳动法》,标准工作时间应为八小时,若工作时间超出八小时,公司应向员工支付加班费,并且中午应有一小时的午休时间用于吃饭休息等活动。
公司无正当理由限制员工在午休时间离开公司,禁止员工出公司侵犯员工休息权和人身自由。公司的规定不能侵犯员工的基本权利,限制员工与外界的正常通信联系,就可能侵犯公民通信自由。
(来源:综合中国青年报微信、@正在新闻、天眼查App等)
①凡本网注明“来源:福州新闻网”的所有文字、图片和视频,版权均属福州新闻网所有,任何媒体、网站或个人未经本网协议授权不得转载、链接、转贴或以其他方式复制发表。已经被本网协议授权的媒体、网站,在下载使用时必须注明“来源:福州新闻网”,违者本网将依法追究责任。
②本网未注明“来源:福州新闻网”的文/图等稿件均为转载稿,本网转载出于传递更多信息之目的,并不意味着赞同其观点或证实其内容的真实性。如其他媒体、网站或个人从本网下载使用,必须保留本网注明的“来源”,并自负版权等法律责任。如擅自篡改为“来源:福州新闻网”,本网将依法追究责任。如对文章内容有疑议,请及时与我们联系。
③ 如本网转载涉及版权等问题,请作者在两周内速来电或来函与福州新闻网联系。