



近日,国家医疗保障局办公室就推进基本医保基金即时结算改革发布通知。明确改革目标:2025年全国80%左右统筹地区基本实现即时结算;2026年全国所有统筹地区实现即时结算;确定6个全省和76个统筹地区为试点省市,福建厦门入选。
基本医保基金即时结算
改革试点名单


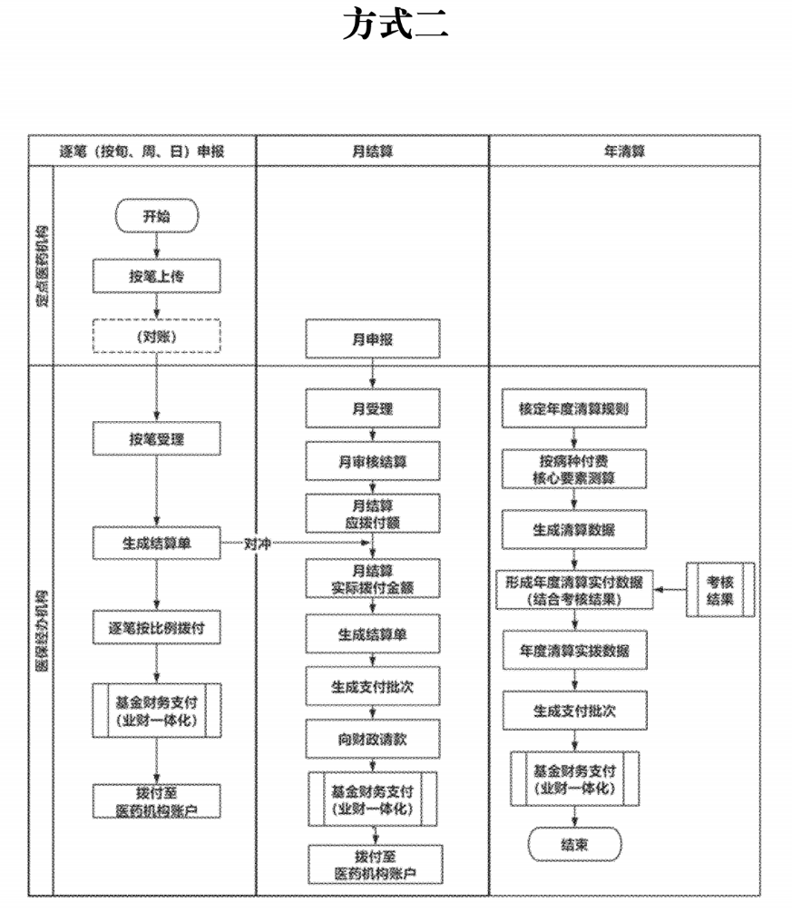
即时结算三种方式流程图



此外,国家医保局要求各地坚持优化传统结算与创新结算方式相结合,充分压缩流程和时长,由原来从定点医药机构申报截止次日到医保基金拨付不超过30个工作日减少至20个工作日。
2025年1至5月,试点省市启动实施即时结算,其他省份可自行选择试点。2025年7至12月,其他省份全面启动医保基金即时结算工作。
①凡本网注明“来源:福州新闻网”的所有文字、图片和视频,版权均属福州新闻网所有,任何媒体、网站或个人未经本网协议授权不得转载、链接、转贴或以其他方式复制发表。已经被本网协议授权的媒体、网站,在下载使用时必须注明“来源:福州新闻网”,违者本网将依法追究责任。
②本网未注明“来源:福州新闻网”的文/图等稿件均为转载稿,本网转载出于传递更多信息之目的,并不意味着赞同其观点或证实其内容的真实性。如其他媒体、网站或个人从本网下载使用,必须保留本网注明的“来源”,并自负版权等法律责任。如擅自篡改为“来源:福州新闻网”,本网将依法追究责任。如对文章内容有疑议,请及时与我们联系。
③ 如本网转载涉及版权等问题,请作者在两周内速来电或来函与福州新闻网联系。